
发布时间:2022年07月07日 14:46
点击:一、一种工业过程微小故障的检测和分离方法及其监测系统
由于工业过程的复杂性不断增加,其精确的数学解析模型通常难以获得,从而使得传统的基于模型的故障诊断方法受到限制。而基于数据的过程监控和故障诊断方法无需过程精确的解析模型,只是利用过程在正常工况下的大量测量数据建立相应的数据模型,并将该模型应用于在线诊断。作为基于数据故障诊断领域的重要分支,多元统计过程监控技术在过去的二十多年时间里取得了长足发展,并成功应用于诸如石油化工、半导体制造等工业过程。故障检测和故障分离是过程监控的两个基本目标,前者用于判断过程是否发生了故障,后者用于确定故障的种类或者找出发生故障的变量。
通常基于主元分析模型,用于故障检测之后的故障分离。然而,传统的主元分析方法对微小故障的检测性能较差,从而使得故障漏报率较高(检测率较低)。另外,传统的重构贡献图方法在处理微小故障分离问题时,也容易导致故障变量错误定位。
本发明提出了一种工业过程微小故障的检测和分离方法。
专利优势:
本发明中的工业过程微小故障的检测和分离方法及其监测系统,利用过程正常工况下数据进行建模,无需工业过程精确的数学模型,也无需工业过程故障工况下的数据,便于实际应用;同时实现了故障检测和故障分离;所采用的故障分析逻辑可以有效地降低误报率。
二、工作面底板跨孔成像装置及注浆效果监测方法
近年来,如何解放华北型煤田深部矿井受高承压水、薄隔水层的煤层成为当前矿井水防治的重要研究课题。
工作面底板注浆技术是解决高承压水上采煤的重要方法。传统的注浆技术方法是采用均匀打钻孔进行注浆的方法,这种方法的缺点:注浆量大,注浆效率低,注浆过程中不能做到有的放矢,注浆效果不佳。随着技术的发展,注浆前,很多技术人员采用地球物理技术探查的岩层的变化情况,对工作面底板薄水层处进行注浆加固,具有不错效果。
本发明提供一种工作面底板跨孔成像装置及注浆效果监测方法。
专利优势:
(1)本发明利用传统的直流电法技术的基础上,通过预设的电缆沟将电缆引入到工作面外,将电缆连接到直流电法仪器内进行数据采集处理成像,基于不同钻孔之间实现跨孔三维电阻率成像技术,实时监测工作面由于注浆而引起电阻率变化情况,根据监测情况做出合理的注浆安排,提高注浆效果。
(2)注浆完成后,工作面在回采过程中,可以监测工作面底板水情的变化,对工作面底板突水情况做出预测预报,从而保障工作面安全开采。本发明是既可以监测工作面底板注浆效果,又可以监测工作面底板水情变化情况,方法原理简单,实用性强。
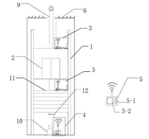
三、一种电梯安全检测装置及检测方法
目前电梯安全参数测量仍采用传统的检测方法。传统的安全参数检测电梯时,需要测量人员进入电梯井道内进行现场测量,由于测量过程中需要控制电梯的升降移动,因此该方法对测量人员具有很大的危险性。
本发明的目的是针对上述不足,提出了一种通过手持控制显示装置与检测装置互联,实现测量人员在井道外,利用手持控制显示装置实时监控电梯安全参数的种电梯安全测量装置及测量方法。
专利优势:
装置结构紧凑,便于安装及维护,可自动测量井道内的相关数据的装置,不需要工作人员进入测量井道内进行数据测量,避免了工作人员在井道内测量相关数据时的安全隐患,提高了测量检测的效率。

四、一种用于监测煤柱垂向压缩变形量的试验装置
近年来,由于监测技术的限制以及设备研发的不足,对于煤柱变形的研究,大多只将关注点放在对煤柱横向变形中的相关参数进行观测,而没有对煤柱垂向变形开展观测研究。这类研究方法具有一定的局限性,不能完全反映煤柱整体变形规律,因此限制了煤柱稳定性研究的进一步发展。
本发明提供了一种用于监测煤柱垂向压缩变形量的试验装置。
专利优势:
本发明将锥形钻头与多级液压缸的最后一级柱塞固定为一体,通过液压泵驱动多级液压缸带动锥形钻头对煤柱进行垂向钻孔,在煤柱横向变形量监测时,通过测量多级液压缸中排出到量筒内的液体体积,间接获得煤柱垂向变形量,结构简单,操作快捷,安全性高。

成果联系方式: 蒋学凯17660458662
电子邮箱:jszy@sdust.edu.cn