
发布时间:2022年03月24日 20:09
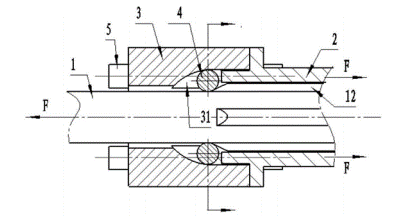
点击:一、一种高强度金属粗尾让压锚杆
在我国,金属锚杆结构设计还不够合理,在巷道围岩变形较大时,大多数锚杆均在锚杆尾部产生断裂。
主要表现为:①锚杆强度较低。在软岩巷道支护中,如果锚杆强度较低,锚杆会随着围岩的变形很快被拉断,而让压装置还来不及起到“让”的作用。②锚杆让压设计不合理。国内起初生产的让压结构复杂,加工不便且成本高。合理的让压装置应该结构简单,在保证巷道支护安全的前提下尽可能地减少成本,同时能保证锚杆支护系统在整个使用期间不失效。
本发明提出了一种新型的锚杆形式,即高强度金属粗尾让压锚杆。该锚杆一方面可以提高锚尾强度,最大限度地发挥自身的抗破断能力,另一方面可以在高应力作用下体现自身的让压功能,从而有效地保证巷道支护安全。
专利优势:
(1)本发明锚杆材料选用了高强度螺纹钢,其抗拉强度较高,锚杆能沿全长或分段发挥其内在性能。因杆体与粗尾为同一材质且为整体式连接,其延伸率可以得到明显提高。
(2)本发明要求锚杆尾部的螺纹直径大于锚杆杆体直径,经墩粗处理和高温热处理后的粗尾部分的屈服载荷和极限载荷都得到明显提高,同时不经过机械和加热处理的头部保留了较好的韧性和延展性,在保证锚固强度的前提下可有效地防止锚尾破段。
(3)本发明在螺母与托盘之间安装了一个让压管,在锚杆受力较大时,让压管能够发挥其特有的让压功能,以适应围岩的变形,保护锚杆在整个支护期间不失效,让压管两侧的刚性垫圈可以分散让压管的受力,使其受力更为均匀,同时可以通过与其让压管的刚性配合使锚杆相对与让压管伸长或压缩,充分发挥出金属锚杆自身的让压作用。

二、混凝土搅拌铺路机
目前在铁路、公路、隧道等道路的铺设施工中,用于铺路的混凝土都为商品混凝土,由搅拌运输车运送至施工现场再借助于混凝土铺路机即可进行道路的铺设。而在煤矿井下的巷道一般距离地面有数百米甚至超过千米的深度,没有适于各类矿井的专用搅拌铺路机,即使有这类设备,从地面运送混凝土至井下也很不经济,较为快捷的方法是将物料用矿井小车运到井下进行现场搅拌,然而现有的搅拌机基本上都是纯机械式搅拌,设备体积庞大,工作效率和自动化程度较低,根本不能适应煤矿井下巷道内狭窄空间的施工作业,且在煤矿井下等特殊环境下很难满足混凝土的高效搅拌和铺路过程中设备需灵活移动的要求。本发明为避免上述现有技术存在的不足之处,提供了一种混凝土搅拌铺路机。
专利优势:
(1)本发明中的铺路机用于井下巷道的道路铺设工作,可完成搅拌、卸料功能,搅拌效率高,卸料及时,可将混凝土铺设至巷道表面,达到铺路的目的,且该铺路机可通过履带在地面上灵活移动,以更换不同的铺路区域。
(2)本发明结构紧凑,操作方便,自动化程度较高,能很好地适应煤矿井下巷道内狭窄空间的施工作业要求。

三、自适应耐蚀锚杆
锚杆一般是在密闭潮湿、干湿交替、永久浸泡等复杂环境中工作。这些因素都可能造成金属锚杆的腐蚀,破坏锚杆材料的表面,导致断裂或降低承载能力。
本发明提供一种自适应耐蚀锚杆,解决锚杆在密闭潮湿、干湿交替、永久浸泡等复杂环境中工作,造成金属锚杆的腐蚀,破坏锚杆材料的表面,导致断裂或降低承载能力的问题。
专利优势:
(1)本发明中拉伸杆通过硬质滚子,在压下力作用下仅发生变形体的局部塑性变形(软质层或齿),比摩擦式锚杆的阻力大,但比杆体全部发生塑性变形更容易实现。
(2)本发明同时具备大变形和大抗力,并且能够根据需要进行调整,自适应外力的变化而保持匀速伸长;耐环境腐蚀下具有更长的服役寿命。
(3)本发明所述锚杆结构简单、成本低廉。

四、履带式平板运输车
目前,在煤矿采掘技术领域,在综掘巷道中,由于轨道铺设的滞后,轨道一般拖后迎头相当长一段距离,经常达到50米之多,而在这迎头的数十米范围内小型支护材料可以通过底皮带运输至迎头,但较大的物料则只能通过人力抬运方式运输。
然而,采用人力抬运重物不仅人员占用多,体力消耗大,而且长期作业对工作人员身体将造成损伤,并且这种工作方式对抬运工作实施人员的配合和身体素质都有着较高的要求,如配合不好或个别工人体质较差,很容易造成人身安全事故。但是若采用非人力机械化的运输手段,鉴于矿井下特殊的工作环境需要防火防爆,且由于井下空间限制,运输工具的动力来源也很难进行持续的有效保障。
本发明提供了一种履带式平板运输车,该履带式平板运输车的结构设计可以有效地解决在井下无轨区域安全高效不浪费人力的搬运重物的技术问题。
专利优势:
(1)本发明采用气动作为动力来源的履带式平板运输车,可以有效的代替人力,在井下未铺设轨道的工作环境内进行重物的搬运,履带可以适应各种复杂的局部地形情况,铲装组件可以辅助搬运起落重物,同时也可以进行如产装散煤等井下作业。
(2)本发明采用气动的设计,动力源即气源获取方便,且由于工作不产生明火或火花,安全防爆,不在工作环境内引入危险因素。
(3)本发明得益于气动动力的特性,在动力源切断供气停止后,系统内保有压力自动停车并自锁,不会产生跑车滑坠等非控事故。

成果联系方式: 蒋学凯17660458662
电子邮箱:jszy@sdust.edu.cn