
发布时间:2022年03月11日 09:01
点击:一、半体锚固结构应力与变形场同步测试系统及测试方法
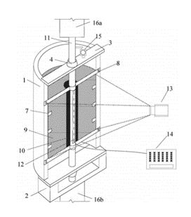
锚固技术是一种有效的巷道围岩加固支护技术,在矿山、水利、隧道、岩土等工程中得到了广泛的应用。但是由于巷道围岩条件的复杂多变性,锚固作用机理尚未形成系统的理论体系,对巷道锚固支护设计的定量指导性不足,由锚固失效引发的顶板事故在国内多有发生。
本发明的目的在于提供一种半体锚固结构应力与变形场同步测试系统及测试方法,以实现锚固结构拉拔试验过程中围岩变形场与锚杆应力同步测试。
专利优势:
(1) 本发明保证了锚杆沿半体锚固结构轴向拉拔,实现了锚固结构变形场与应力同步测试,提高了锚固机理研究数据获取的准确性和全面性。
(2) 本发明采用固定筒体上设置凸起圆环的方式,代替上部内置挡板固定锚固结构,使锚固结构顶部为自由面,更符合现场工程,且结构简单易行。
(3)本发明具备半体锚固结构制备及测试两项功能,增加另一半固定筒体即可进行锚固结构常规拉拔试验,在固定筒体前侧增加一个全遮挡透明前置挡板后,可进行土层锚固结构拉拔测试。
所属领域:空间加固
扩展领域:土木工程;地下空间开发等
合作方式:技术转让、技术许可

二、大变形恒阻支护注浆锚杆、锚索及巷道定量支护方法
在深部开采条件下,高地压、高地温、高渗透压以及开采扰动严重影响着地下巷道围岩的稳定性,由于传统小变形锚杆允许巷道围岩的变形量一般均在200mm以下,传统支护技术己经不能够适应深部巷道围岩非线性大变形破坏特征,常出现因锚杆不能适应巷道围岩大变形破坏而被拉断失效,因此冲击地压发生的频数也显著增加。各种吸能锚杆己在市场上出现,但这些锚杆的巷道自承能力和稳定性都较差,与目前大变形巷道不能有效匹配。
本发明的目的在于提供一种大变形恒阻支护注浆锚杆、锚索及巷道定量支护方法,实现围岩大变形的定量支护且提高支护效果。
专利优势:
(1)本专利结构简单,便于加工,支护操作简单,注浆操作简单,无需注浆塞封口,简化工序。
(2)本专利特别适合围岩大变形支护,支护强度更高,通过注浆改变围岩内部松散结构,提高围岩的自承能力,通过恒阻提供围岩的大变形支护,以实现让-抗支护、主动-被动支护的有机结合。
所属领域:空间加固
扩展领域:土木工程;地下空间开发等
合作方式:技术转让、技术许可

三、一种大型地下工程强力刚性支架可调节收敛约束装置及方法
复杂地质条件下深井、软岩和动压巷道岩体呈现强流变特性,围岩的长期稳定性控制极其困难。现阶段,以钢管混凝土为主体的强力刚性支架支护型式在一定程度上缓解了原有U型钢支护强度不足、阻力过小、成本过高及让压受制等问题,钢管混凝土强力刚性支架是由钢管和混凝土组成的组合支护结构。现有的支护体系为U型钢或者单纯的钢性支护体系,无法吸收额外转移的能量,巷道围岩变形能量无法得到释放,而现有强力刚性支架支护系统由于支架与围岩接触面较小,容易导致钢管表面的应力集中,深部巷道刚性支架偏压现象明显,刚性支护让压能力欠缺,过高的强度要求导致支护成本上升。
专利优势:
(1) 本发明通过弹性件的设置,解决了现有钢管混凝土强力刚性支护支护刚度有余而柔性不足的问题,通过装置内置的弹性可调节弹簧,利用较小的恒阻或变阻结构,实现支护体系在一定阻力条件下与围岩协调变形,达到缩小截面面积换取较小支护刚度,从而保证大变形巷道的长期稳定。
(2) 本发明通过无线压力传感器的设置,可对弹性件与让压节点部件之间的力进行检测,便于支架与围岩岩体之间发生协调变形时,对弹性件回弹力的调整。
(3) 本发明整个装置为拆卸式结构,可重复利用,节约资源。
(4) 本发明整个结构使得支护体系具有吸收额外转移能量的能力,以保证巷道围岩变形能量得到释放,支护系统所具有的这种让压能力可以释放不可控制的变形,提高支护系统的有效性和完整性。
所属领域:空间加固
扩展领域:土木工程;地下空间开发等
合作方式:技术转让、技术许可

四、一种隧道工作面塌方应急处理方法
目前国内隧道工程在处理隧道塌方事故时,常用的方法有管棚法、小导管注浆法、二次衬砌加强法等。在塌方事故处理中,这些方法运用已经比较成熟。但是存在一定局限性,例如采用注浆形式加固使得处理周期长,机械施工复杂、作业环境要求高等因素,不能对塌方段及时有效的支护。另外塌方周围岩体破碎,严重失稳,若不能及时支护或者支护过程对岩体造成扰动,容易发生二次塌方,威胁施工人员安全,造成经济损失。
专利优势:
(1)本发明采用的拱梁、单体液压支柱等塌方应急处理器材可提前储放,使用方便。
(2)本发明塌方段采用工字钢楔形梁与枕木组合,为应急抢险人员提供安全的作业空间,保证作业安全性。
(3)本发明塌方段单体液压支柱与枕木共同作用,降低了工作面二次塌方的危险。
(4)本发明的工作面塌方应急处理方法机械施工速度快,人员配备及工序简单,减少了施工周期。
(5)本发明使用的拱梁、单体液压支柱、枕木等支护结构加工简单,减少了施工成本。
所属领域:地下空间安全
扩展领域:应急救援;地下空间开发等
合作方式:技术转让、技术许可

成果联系方式: 蒋学凯17660458662
电子邮箱:jszy@sdust.edu.cn