
发布时间:2022年02月23日 15:51
点击:
一、 一种悬浮与漂浮结合的海浪能发电机器人装置及其工作方法
波浪能作为可再生能源的一种,是由风和海水的相互作用而形成。研究表明,海水波浪能密度是在海平面上方20米内空域的风能资源密度5倍,更是太阳能资源密度的20倍之多。在波浪能利用形式上,现在国际和国内主要采用的形式主要为振荡水柱式波能装置、振荡浮子式波能装置、摆式波能装置。
本发明包括漂浮浮体、悬浮浮体以及设置在漂浮浮体和悬浮浮体之间的海浪能发电机器人机构。该悬浮与漂浮结合的海浪能发电机器人装置具有三个自由度,分别为一个沿坐标方向的移动和两个绕坐标方向的转动,可以同时收集来自各个方向上的海洋能。
专利优势:
(一) 本发明采用的是悬浮浮子和漂浮浮子之间的相对运动来吸收海洋能,无需固定平台,无需系泊即可工作,成本低且实现容易。
(二) 本发明的整体质心都集中在装置的最低端,在海浪冲击波较大的能量过后,装置可以自动回正,可以连续工作。
(三) 该装置采用圆筒形密封结构,漂浮在海浪中,可以吸收海浪各个方向的能量。通过上部水室的液体流动增大惯性,使漂浮浮子具有更大的运动姿态,而悬浮浮子内部则设置有自动稳定悬浮浮子状态的陀螺转子或者配重重物,能够维持悬浮浮子的稳定。相对运动就会增大,增加能量吸收效率。
(四) 本装置采用密封筒形结构,密封的筒形结构将内部重要的部件如液压元件、发电元件、陀螺转子等于具有腐蚀性的海水隔离,可以有效的避免海水的腐蚀,因此具有较长的使用寿命。
所属领域:海洋能源
扩展领域:机械装置;信息采集等
合作方式:技术转让、技术许可

二、 一种基于等效声速梯度的长基线水声定位方法
长基线水声定位系统跟踪范围大,定位精度高,已经在海洋资源开发、海洋工程建设、水下考古、海洋国防建设等多方面得到了广泛应用。目前己研发的长基线水声定位系统多采用距离交会的定位方法,距离测量的精度直接影响到长基线系统的定位精度,因此根据实测声速剖面进行声线改正非常重要,但声速剖面难以实时获取,声速剖面代表性误差难以避免,因此有必要研究一种能够有效消除声速剖面代表性误差影响的长基线水声定位系统。
专利优势:
本发明提出一种基于等效声速梯度的长基线水声定位方法,与现有技术相比,不需要准确的声速剖面,不需要声速剖面,消除了声速剖面代表性误差对定位计算精度的影响,提高了长基线水声定位系统的定位精度。
所属领域:定位导航
扩展领域:环境测量、信号处理、仪器制造等
合作方式:技术转让、技术许可

三、 一种在水池内进行的船载一体化测量系统精密检校方法
激光扫描系统可快速获取水面以上大量点云数据,多波束测深仪能够快速获取海底大面积海底地形信息,集成激光扫描仪和多波束测深仪的“船载水上水下一体化测量系统”可以同时获取海底地形和近岸水上地形数据,解决近岸海岸带和滩涂地形测量问题。
“船载水上水下一体化测量系统”的整体检校是保障测量精度的重要方面。国内外对综合测量系统的整体检校方法少有报导,因此对于“船载水上水下一体化测量系统”整体检校方法要进行研究和实施,以保障一体化测量精度。
专利优势:
(一) 本发明与现有技术相比,一种在水池内进行的船载一体化测量系统精密检校方法,集成了激光扫描仪和多波束测深仪,可以同时获取海底地形和近岸水上地形数据,解决近岸海岸带和滩涂地形测量问题。
(二) 激光扫描仪精检校获取的偏移量和旋转角度具有较高精度,以精检校后激光扫描仪测量的数据为准,求取多波束测深仪坐标系相对于惯性导航系统坐标系精确的角度偏转和距离偏移修正值,实现了船载水上水下一体化测量系统整体精密校准,对固定目标检校物进行一体化测量。
(三) 本发明适用于水池或码头等有固定目标检校物的区域。
所属领域:海洋导航
扩展领域:仪器仪表
合作方式:技术转让、技术许可

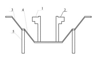
四、 一种处于海域超深无支撑锁口圈梁
在现隧道竖井施工中,常设置锁口圈梁作为竖井施工的前期支护形式。锁口圈梁即可以防止井口塌方又可以保证后续开挖人员施工安全。
现有的锁口圈梁的边坡只有一个坡度以及锁口圈结构简单,使得施工作业断面小、深度浅,不能满足大断面地铁TBM竖井锁口圈的结构设计要求,同时大部分地铁隧道属于山体隧道,竖井锁口圈不需要考虑防水问题,但当在海滨开挖竖井时,山体隧道竖井锁口圈防水设计亦不能满足沿海地区锁口圈的防水设计要求。
本发明提供一种处于海域超深无支撑锁口圈梁,用以解决现有技术中,现有竖井锁口圈梁的施工作业断面小、深度浅,以及防水设计不能满足沿海地区防水要求的问题。
专利优势:
(一) 本发明采用两层边坡可增大锁口圈梁施工面积大、开挖深度,且第一边坡和第二边坡均采用边坡支护,可以有效抵御海水的侵蚀。
(二) 由于锁口圈梁包括锁口圈底部支撑和锁口圈,且所述锁口圈成7字型,锁口圈底部支撑作为插入土体的主体,在锁口圈的支撑保护下,可以承受土体压力,且锁口圈梁的内部配筋设置保证了竖井锁口部分的稳固性,因此,可以满足锁口圈梁施工面积大、开挖深度深的要求。
所属领域:工程建设
扩展领域:海洋工程、土木工程等
合作方式:技术转让、技术许可

成果联系方式: 蒋学凯17660458662
电子邮箱:jszy@sdust.edu.cn